(一)商城开启聚合支付分账。
如果商城门店使用分账功能,联系客服配置好数据通系统信息和聚合支付信息,再去开启聚合支付分账。
路径:商城后台 -- 应用 -- 聚合支付分账
1、开启分账支付方式,点击同步更新商户,提交保存。


2、进入主商户管理,同步主商户。
(1)可以查看商户编号,支付商户号,所属通道(汇付),商户号ID(即汇付商户号)

(2)可以点击详情查看商户信息


3、进入子商户管理,子商户这里需要自己在商城后台这里去新增,或者联系客服登录数据通后台进入聚合支付里去添加。

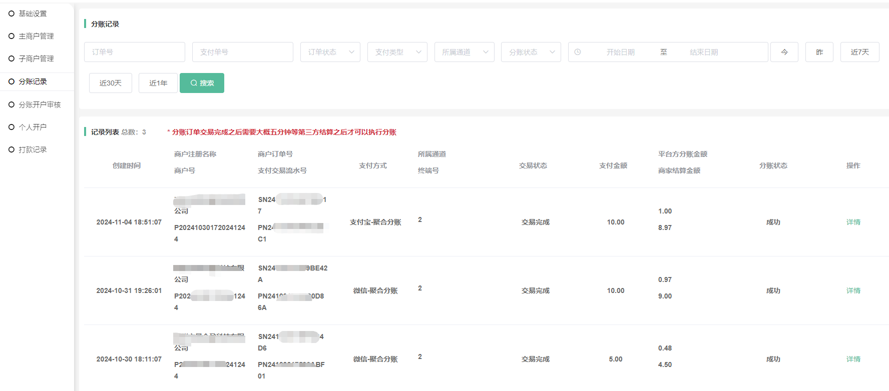
4、汇付分账记录

5、汇付分账开户审核

(二)门店支付方式开启聚合支付,开启分账,设置好平台提成比例。
每个门店的收银台和门店商品是单独开启参与分账的。如下图所示。
路径:商城后台 -- 应用 -- 门店收银台 -- 门店管理 -- 操作 -- 经营设置 -- 收银台 和 门店商品经营设置里开启聚合支付 和 聚合支付分账。如下图




设置平台提成比例。汇付商户开通多方分账时,分账最大比例:一笔订单由门店收单,平台分的最高比例;商城设置的平台提成只要在最高分账比例范围内就行。平台是分账方,商家是收款方。(20%以下不用上传协议,以上要上传服务佣金相关协议)



(三)分账流程说明
使用聚合支付-分账,门店的订单完成并满足结算期后,分账订单自动分账完结;分账后按第三方支付打款期(如 T+1)自动结算到商户结算卡(需开通自动结算,如未开通则资金停留在商户号中,不会自动打款)。后期可手动打款。
作者:技术支持-周玲 创建时间:2024-11-06 09:59
更新时间:2025-04-08 10:34
更新时间:2025-04-08 10:34